电气工程量计算好难?快试试这些计算方法
算客工场-海量项目
2025-12-23
|
3133阅读
8
赞
做安装造价的盆友经常吐槽电气工程量计算是最难的,的确,电气工程从电缆电线的区分到分别计算,从电气桥架到爬墙走线,从防雷接地到弱电智能化,每个环节都是比较复杂且难以弄懂的。
本篇文章整理了电气工程量计算及其方法,盆友们赶紧学一些,帮你突破这个难点。
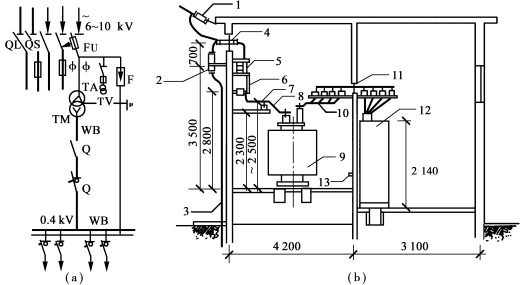
1 10kV高压架空进户装置 10 kV以下悬式绝缘子XP,以“串”计量; 10 kV以下户外高压熔断器WR,以“组”计量; 钢穿通板,以“块”计量; 10 kV以下穿墙导管CLB,以“个”计量; 10 kV以下避雷器FS,以“组”计量; 10 kV以下户内、外支持绝缘子ZA,以“个”计量; 支架、金具,以“kg”计算。 2 变配电装置及设备 从进户装置起依序计算

3 变压器安装
计算规则:按不同电压等级、不同容量和不同类型分别以“台”计量。
TM安装:不包括变压器油耐压试验及变压器系统调试。
TM分类:冷却方式有油浸式、干式;相数分单相与三相;线圈材质分铜、铝线圈;铁芯分热轧与冷轧硅钢片等。
4 配电装置安装 断路器(QF)、负荷开关(QL)、隔离开关(QS),断、通正常负荷电路,保护和控制高压电器设备。安装包括所配备的电磁式、弹簧储能式、手动式等操作机构。 电流互感器(TA)、电压互感器(TV)作为测量电压、电流、电能及继电保护之用。 计算规则:上述装置均以“台”计量。 5 母线安装 母线:有变配电装置高压母线和车间配电低压母线,注意区别。 常用硬母线:铜(TMY)、铝(LMY) 。 计算规则:单片“延长米”计算。 L母= (母线设计单片延长米长度+母线预留长度)×(1+2.3%) 制作安装损耗—2.3% 6 高压控制设备 高压控制台、柜、屏,用于发电厂、工矿企业变配电站(所),接受电力和大型高压交流电动机启动、保护的主要设备。 目前,国产有固定、手车及活动式三种,型号有GG、GFC、GBC等型。 计算规则:分别按控制屏、继电屏、模拟屏、电源屏、直流屏、控制台及箱式配电室等以“台”计量。 7 低压控制配电设备 计算规则:成套型动力、照明控制及配电用柜、箱、屏等,不分型号、规格及安装方式,均以“台”计量。 进出柜、箱、屏的导线需焊(压)接线端子时,以“个”计量。 高压、低压设备基座、支架:槽(角)钢基座、支架制安按“kg”、“m”计算。 8 电力及控制电缆

电缆埋地或地沟进户示意
L=(l1+l2+l3+l4+l5+l6+l7)×(1+2.5%)
9 电力及控制电缆安装 计算规则:10 kV以下电力及控制电缆;无论敷设方式用部位,分别以“m”计算。 电缆长度以敷设方式和部位的表达式: 电缆长度=(2×端头长+引上下长+直埋地长+电缆沟长+保护管长+钢索长+沿墙长+竖井道长+桥架长+槽架长十梯架长+线道长等+电缆预留量)×(1+2.5%) 电缆端头:制作安装以“个”计量。 10 电缆直埋敷设 电缆沟土石方,以“m³ ”计算: V=S L,两根电缆每1 m沟长,V=0.45 m 每增加一根电缆,每1m沟增加0.153m³。电缆沟铺砂盖砖:以沟长度“m”计算。

11 电缆沟内敷设
电缆沟:进人、不进人沟。
沟体砌筑:土石方量“m3” ;沟底、壁砌砖 或浇筑“m3”;沟壁、底抹水泥砂浆“m2”;沟盖板制作“m3” ;采购时价值及运费参考《建筑工程预算定额》。
揭、盖电缆沟盖板:“m”计算;
沟内支架制安:钢“kg” 、砼“m3 ”计算。
12 电缆桥架安装 桥架:分为梯式、托盘式(有孔托盘、无孔托盘),一般由直线段、弯通、三通等附件及支、吊架等构成。 计算规则:无论钢质、不锈钢、铝合金、玻璃钢、塑料质桥架,均按“m”计算。包括桥架每段间用5.5~16mm2的电气连通 跨接线及接地线和接地端子的安装。 13 配管工程量 计算规则:配管以管材质、规格和敷设方式不同(明暗),按“延长米”分别计算,不扣除接线盒(箱)、灯头盒、开关盒所占长度。 要领:从配电箱起逐回路进行计算。 方法:水平管,借建筑物平面图墙、柱轴线尺寸进行计算。只能斜向敷设的管,当图纸比例正确时,可用比例尺量算。 14 配管配线的明暗盒 接线(分线)、插座、开关、灯头等盒按“个”计量。

15 电气配线
计算规则:照明和动力线路不分品种、规格、型号、敷设方式均按“单线延长米”计算。
管穿线长=(配管长度+导线预留长度)×同截面导线根数
常用导线:单芯、多芯;铝芯、铜芯;塑料、橡胶绝缘。

(导线预留长度)
算客工场工程行业技术服务众包平台,专注造价咨询
免责声明:文中部分素材来源网络,仅供学习参考,其内容并不代表本公众号赞同其观点或对其真实性、准确性负责,版权归原作者所有,如果侵害了原作者的合法权益或者原作者不希望被转载,请联系我们删除!!!!!!
共28条评论
全国最大一站式工程咨询服务平台
已发表2937篇文章
头条热榜 换一换
- 机上人员工资的计价归属:人工费还是机械费?
- 只会算量套价危险了!一线造价员稳住位置的3条“护城河”
- “十五五”开局暴涨的三大证书
- 暂列金额、暂估价、预备费,工程造价三个费用你理解透彻了吗?
- 1 干混砂浆的容重到底是多少?背后的成本问题你思考过吗?· 假如我是解答人系列之(12)
- 2 24清单-总价包干合同清单缺陷责任究竟归谁?
- 3 给造价同行们的真心话:活儿再急,清单也不能掉链子!
- 4 签证单上的“魔法数字”:甲方代表为何总爱写“暂估”
- 5 “文明施工”不是泛泛而谈,而是有明确的10大项56小项内容!
- 6 一级造价师各科章节练习题汇总(完整版)
- 7 24版清单标准中措施费包干是个坑,投标人对缺漏项可增补,假如措施项缺漏100多万元怎么办?
- 8 一根小小对拉螺栓看施工与预算的关系 · 假如我是解答人系列之(13)
- 9 是防水?是找平?还是抹灰?防水砂浆到底执行什么定额?· 假如我是解答人系列之(十一)
- 10 重磅拆解|十五五20万亿城市更新落地,倪虹定调4大红线+5大投向,民生与行业双受益
- 11 定额工程量和清单工程量有什么不同?
- 12 图纸显示不全?十大高频问题与解决方法汇总(上)
- 13 一觉醒来全世界造价水平下降一万倍
- 14 审计局的“显微镜”:一份发票如何推翻整个结算
- 15 定额组价既然偏离市场价,为何还不废除?
- 16 监理的“善意提醒”:隐蔽工程验收中的信任陷阱
- 17 实体工程计量争议的常见类型与判定要点
- 18 如此算伸缩缝和切缝工程量,真的嘎嘎好用
- 19 给排水工程计算实例技巧汇总
- 20 凭什么不计算新建工程加气块的开槽费用?
- 21 你以为利润是“省”出来的?不,是被“漏”掉和“错”没的
- 22 终于!2026年一级造价工程师考试时间确定!
- 23 工地上的8类钢筋,你分得清吗?
- 24 建筑工地“九牌一图”,你都知道是什么吗?
- 25 为什么住宅楼一般建到33层就不建了?
- 26 施工合同无效时价款结算的27条宝典
- 27 核量速度快了10倍?一线造价员亲测:未来必备的3个数字工具真能少加班!
- 28 湖北率先“炸掉”定额!2026新规震撼建筑业,企业生死大洗牌
- 29 害人的税率
- 30 24清单标准实施后大家还有什么牢骚要发
- 31 刚入行的小白一定要知道的“造价审计流程及技巧”
- 32 某新型住宅地下独立车库线缆计算技巧分享
- 33 什么是桩?桩有什么作用?
- 34 甲方催新清单?别慌!一线造价员用上这份‘湖北打法’指南,又快又准!
- 35 官方发布!持一造证书可领取90000元补贴!
- 36 纯干货分享、对代理公司用处极大:如何才能编制一份规范的工程量清单和最高投标限价
- 37 墙面瓷砖的倒角和地面瓷砖拼花对装修预算的有什么影响
- 38 干货分享:钢筋和混凝土能按暂估价材料处理吗?
- 39 大道至简,一张塑料薄膜对做造价的启示
- 40 结算、决算、施工签证、工程量、审计计算难点解答汇总
- 41 24清单计价模式下如何编制招标控制价
- 42 投标9%税率结算3%开票:6%税点扣除的法律与实务辨析
- 43 10次工业项目,有九次预算失真:问题不在现场,而在....
- 44 水利水电常用知识点
- 45 如何控制工程造价全过程
- 46 合同争议轻松解决,再也不怕领导啦~
- 47 实体工程计量争议案例剖析:避开计量“雷区”
- 48 工程造价中被打脸的工序操作
- 49 有一种大神:可以不用电子版CAD图纸做造价
- 50 造价过程中的这些“价”你都搞清没?